“童鞋爱马仕”泰兰尼斯4项发明公布专利无效
2025/12/09 | 作者 王涵 | 编辑 崔陆鹏
摘要:泰兰尼斯高端定价背后的技术支撑仍有待验证。
“泰兰尼斯稳稳鞋,少摔跤,走得稳。” 2023年8月,泰兰尼斯推出“稳稳鞋”系列,凭借相关功能宣传成为童鞋市场爆款,品牌借此进一步打开市场。
不过,泰兰尼斯因定价偏高,被外界称为“童鞋界爱马仕”。《凤凰WEEKLY财经》发现,其旗舰店内,稳稳鞋单价在500-1500元之间,热销款多集中于600-800元区间,而该系列冬季新款定价高达1499元,价格已对标昂跑、凯乐石等成人专业跑鞋品牌。
此前,泰兰尼斯创始人丁飞在分众传媒采访时曾透露,泰兰尼斯的核心策略是打造有势能的单品,加上有上千家线下店,电商渠道也完全自营,所以现在其销售渠道和产品研发的体系逐步完善。同时,他提到,泰兰尼斯广告投入花1元,研发投入至少花1.2元。
值得关注的是,泰兰尼斯高端定价背后的技术支撑仍有待验证。
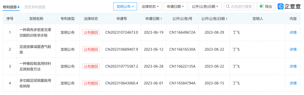
企查查数据显示,杭州泰潼商贸有限公司(泰兰尼斯母公司)共有67条外观设计专利申请通过、7条实用新型专利申请通过,但4条发明公布专利申请均无效。

针对泰兰尼斯专利及技术相关问题,《凤凰WEEKLY财经》向泰兰尼斯方面进行了询问,截至发稿前暂未收到回复。
北京市金台律师事务所高级合伙人卢秋羽对《凤凰WEEKLY财经》表示,中国专利法规定的专利主要有三种类型:发明专利、外观设计专利、实用新型专利,可从三个核心维度理解三种专利差异。
第一,法律标准不同:发明专利要求具有“突出的实质性特点和显著的进步”,保护的是突破性、非显而易见的技术思想;而实用新型只要求“实质性特点和进步”,保护的是局部改良、优化的产品具体结构。
第二,审查强度不同:发明需经过严格的全球检索和实质审查,授权门槛高、周期长;实用新型仅进行初步审查,授权快、门槛低,因而常作为快速保护手段。
第三,策略意义不同:企业通常将核心技术与基础工艺申请发明专利以构建长期壁垒;而对产品结构的小幅改进则申请实用新型,实现快速市场保护。两者在创新高度与保护强度上分属不同战略层级。
“与实用新型和外观设计专利相比,发明专利能够构筑更强、更稳固的技术和法律壁垒。”卢秋羽指出,如果说实用新型和外观专利保护的是产品的“形”,那么发明专利保护的就是技术的“魂”。前者能防止直接抄袭,后者则能封锁技术路线,是从根本上建立竞争优势、定义行业门槛的关键工具。
“从专利结构看,泰兰尼斯尚未形成以发明专利为核心的原理级技术壁垒,其优势主要体现在产品研发效率、品牌认知和渠道覆盖上。其对中国家长在儿童足部发育问题上的焦虑把握精准,通过功能化设计与概念包装建立专业感认知,因此‘稳稳鞋’的高定价更多来自品牌溢价,而非技术溢价。”晶捷品牌咨询创始人、品牌战略专家陈晶晶对《凤凰WEEKLY财经》表示。
不过,陈晶晶也提到,从行业层面看,真正依托发明专利构建护城河并形成技术溢价的鞋企在全球范围内并不多,主要集中在运动鞋与医疗矫形鞋等高度依赖材料科学与生物力学创新的细分领域。而在更广泛的消费鞋履市场,专利并不必然转化为市占率或品牌忠诚度,行业长期壁垒仍更多来自品牌力、供应链能力与渠道网络的综合构建。